Dans le matériel présenté, dans l'ordre, toutes les étapes de la création d'un système de chauffage efficace pour une maison de campagne avec une chaudière à combustible solide sont prises en compte. Commençant par le choix de l'équipement et du calcul de la puissance, puis par les schémas d'installation et les règles de fonctionnement.

Contenu:
- Choisir le type optimal de chaudière à combustible solide et d'équipement
- Caractéristiques de l'installation et de la disposition de la chaufferie
- Utilisation d'un accumulateur de chaleur et calcul de son volume pour une chaudière à combustible solide
- Différents types et configurations de tuyauterie de chaudière à combustible solide
Choisir le type optimal de chaudière à combustible solide et d'équipement
Il existe actuellement 4 principaux types de chaudières à combustibles solides.
Traditionnel, c'est classique
Conception moralement obsolète, avec une efficacité extrêmement faible - moins de 60%. Il nécessite un entretien fréquent, un chargement manuel de carburant de 4 à 8 fois par jour. Les principaux avantages sont un faible coût, une grande fiabilité et une extrême désinvolture.
Chaudières à combustion longue
Leur technologie a été développée dans les années 70 du siècle dernier et a abouti à une conclusion logique en utilisant des moyens modernes de contrôle de la température. La présence de pompes de circulation à circulation forcée rend ce système un peu plus efficace que le classique, mais volatile. Sans entrer dans les détails du processus de combustion, nous notons que le chargement de combustible dans une chaudière à longue combustion peut se produire exclusivement de manière cyclique - ce n'est pas rentable avec des changements de température fréquents et très difficile à entretenir. Combinée à un système de cerclage complexe et à toute une liste de restrictions lors du chargement, cette machine est très difficile à utiliser.
Chaudières à pyrolyse
Un type relativement nouveau. Le principe de l'apport de chaleur repose sur la combustion du gaz de pyrolyse, qui est libéré après le traitement thermique du combustible. Les fabricants réglementent l'efficacité de ces chaudières à plus de 90%, ce qui n'est qu'un gadget publicitaire. Ce calcul d'efficacité prend en compte l'énergie dépensée dans le processus de pyrolyse.
La pyrolyse est le processus de décomposition du bois lorsqu'il est chauffé sans accès d'air, ce qui s'accompagne d'un dégagement de gaz combustible.
Le vrai KDP, modèle techniquement parfait de ce type de chaudière ne dépasse pas 75-80%. Et cela tient compte des conditions de fonctionnement idéales, ce qui signifie que l’humidité du carburant n’est pas supérieure à 10%. Avec l'augmentation de l'humidité, l'efficacité de la chaleur bénéfique se dissipe rapidement. Des risques supplémentaires surviennent pendant le fonctionnement. Le plus important est le débit potentiel de gaz de pyrolyse. Avec le chargement systématique de l'appareil avec du carburant très humide, la chambre du générateur de gaz s'éteint rapidement. Pour éviter cela, il est recommandé de doubler la chaudière avant chaque saison de chauffage.
Type de pellet
La chaudière à combustible solide la plus avancée technologiquement que vous puissiez choisir. Il comprend un ensemble de systèmes de contrôle, d’automatisation des processus et de sécurité. À l'heure actuelle, ces équipements sont les plus coûteux, mais les plus avancés sur le plan technique:
- haute efficacité - 85-90%;
- automatisation complète du processus de chargement des pastilles de combustible;
- système de contrôle flexible des conditions de température dans les pièces;
- haut degré de sécurité pendant le fonctionnement.
L'appareil et les caractéristiques techniques de la chaudière à pellets:

1. Trémie à pellets;
2. Tarière à granulés;
3. Moteur de la vis sans fin;
4. Un tuyau pour alimenter le brûleur en combustible;
5. Distributeur de carburant au brûleur;
6. Nettoyeur de cendre électrique;
7. Échangeur de chaleur - le triple passage des gaz à haute température donne un rendement élevé;
8. Panneau de contrôle;
9. Contrôlez les fenêtres pour détecter la présence de granulés de carburant dans la trémie.

Principe schématique du fonctionnement d'une chaudière à pellets.

Les pastilles de combustible utilisées comme combustible dans ces chaudières.
A leur tour, les chaudières à pellets peuvent être divisées en trois types, en fonction du type de structure de l'élément principal de la chambre de combustion.
Brûleur de la torche
C'est la technologie la moins économique utilisée dans ce type d'équipement. La combustion de carburant se produit dans le flux d'air créé par le ventilateur, à des températures allant jusqu'à 12000C. Une caractéristique distinctive de cette technologie est la polyvalence et la simplicité de la qualité du carburant.

Lors du choix de ce type de brûleur, assurez-vous qu'il existe une chambre de dosage supplémentaire (mise en évidence sur la figure) avec une vanne d'arrêt à volet qui empêche la combustion inverse. Cela rendra le processus d'alimentation en granulés plus économique et plus sûr.
Grille
Avec cette méthode, les granulés de combustible sont introduits dans la trémie de stockage et de là, ils sont versés sous leur propre poids sur la grille. En dessous, l’air pompé favorise la combustion. Les grilles peuvent être fixes et mobiles. Ces derniers sont utilisés pour brûler du combustible de grandes fractions contenant beaucoup de cendres.

Chambre de combustion, une vanne d’alimentation en pellets est mise en évidence.

Grille, il est également monté dans un plateau conique.
Brûleurs
Bol en acier ou en fonte sur lequel se produit la combustion. Les granulés sont acheminés par le bas à travers la goulotte avec une vis de chargement spéciale. L'air de combustion primaire est fourni de la même manière. L'air secondaire servant à contrôler et à intensifier le processus est fourni par les trous de la cornue.
Vidéo: Alimentation en pellets dans un brûleur à cornue
Equipement supplémentaire pour la chaudière
Presque tous les modèles modernes ont les fonctionnalités suivantes en standard:
1. Allumage automatique - l'utilisation d'un sèche-cheveux à haute température dans un boîtier de sécurité protégé thermiquement est optimisée. Des éléments chauffants en métal ou en céramique sont également utilisés, mais ils sont moins durables. La méthode des électrodes est très sensible à la teneur en humidité des granulés.

2. Système de contrôle. Fondamentalement, divers types de thermostats sont utilisés pour contrôler la température du liquide de refroidissement et des sondes lambda, qui déterminent la quantité d'oxygène résiduel dans les gaz de combustion. Les deux détecteurs contrôlent la puissance du ventilateur forçant de l'air dans le four.
Choisir le modèle le plus efficace
Avant de choisir une chaudière à combustible solide, il est nécessaire de déterminer sa puissance et les critères techniques auxquels elle doit satisfaire, à savoir:
#1. Un certificat d'adaptation de toutes les unités de chaudière pour fonctionner sur le territoire de la Fédération de Russie.
#2. La présence de plusieurs modes de robots avec différents types de pellets.
#3. La possibilité d'utiliser un type de carburant différent.
#4. Niveau de qualité du carburant requis;
#5. La présence d'eau chaude et la possibilité d'activer un mode de fonctionnement "été" économique;
#6. Fiabilité du travail continu à long terme en mode autonome;
#7. Le niveau de bruit reproductible dans différents modes de fonctionnement:
- chauffage standard;
- chauffage amélioré à l'eau chaude;
- démarrage d'allumage;
- fourniture de granulés de combustible provenant des trémies interne et externe;
#8. Possibilité de connecter un contrôle supplémentaire externe;
#9. Contrôle d'échelle du régime de température des locaux;
#10. Accès et taille du bac à cendres;
#11. Disponibilité des systèmes de sécurité
- contrôle du tirage arrière;
- contrôle de la surchauffe du liquide de refroidissement;
- arrêt automatique et système d'extinction d'incendie.
Règles d'installation et d'aménagement de la chaufferie
Pour un fonctionnement pratique, l'installation d'une chaudière à pellets à combustible solide doit être effectuée dans une pièce spacieuse. Lors de son placement, il est nécessaire de respecter les paramètres des empreintes technologiques des murs et autres surfaces indiquées dans le passeport du produit.
Dans la pratique, il y a eu des cas où, après six mois de fonctionnement, il a été constaté qu'il était impossible d'ouvrir le cendrier pour le nettoyer.
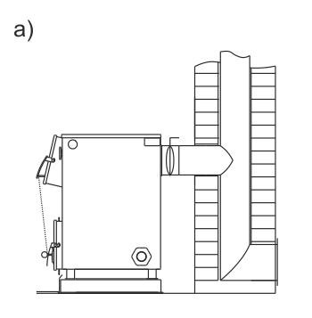
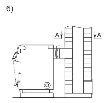
Le critère principal pour l’adéquation de la pièce est une bonne ventilation naturelle ou forcée et une cheminée bien agencée. Les schémas de cheminée les plus couramment utilisés, vous pouvez voir ci-dessous:


Schéma A et B dispositif de la cheminée dans la maison. En tant que conduit d’échappement, des puits de ventilation disposés dans un mur maigre sont utilisés. Ces canaux doivent être isolés du système principal de ventilation naturelle à la maison.

Schéma B - retrait de la cheminée de la chaufferie située au sous-sol.


Les schémas D et D sont un dispositif de cheminée externe provenant d'une chaufferie ou d'une maison spécialement construite.
Dans toutes les versions du dispositif de cheminée, vous devez installer:
- pare-étincelles sur la cheminée;
- sceller le manchon de transition dans la chaufferie;
- dispositif de drainage.
L'installation d'une chaudière à combustible solide est recommandée sur un coussin de fondation avec une couche d'isolation thermique. Il est nécessaire d'installer un analyseur de gaz spécial dans la pièce, si ce n'est pas standard sur le modèle acheté.
Règles d'installation de la trémie à granulés
Outre la trémie intégrée, qui a un faible volume et doit souvent être remplie de carburant, de nombreux propriétaires connectent une trémie externe de grande capacité au système.

Tous les conteneurs conviennent au stockage de pellets. La condition principale est l'étanchéité de la structure, si celle-ci est située à l'extérieur d'une pièce chauffée. Lors du choix du volume de la trémie, il est nécessaire de procéder à partir de la norme: 1 tonne de pellets prend jusqu'à 2 m3. la hauteur de construction n'est pas critique.
Il existe un avis selon lequel, dans les conteneurs hauts, les couches inférieures des granules sont broyées, ce n'est pas vrai. Les pastilles de carburant de haute qualité supportent beaucoup de pression.
Le conteneur ne doit pas être situé à plus de 12 m de la chaudière. La complication de la conception de la vis sans fin ou l’utilisation de trémies de transfert est autorisée, mais utilise exclusivement du carburant de haute qualité. Sinon, la poussière tombant dans le four en grande quantité réduirait l'efficacité et pourrait endommager les mécanismes d'alimentation et de dosage de la chaudière.
Dans la partie inférieure du cône de la trémie, sous la sortie de la prise de carburant, il est nécessaire de prévoir un audit pour éliminer systématiquement les poussières. Si le cône a une petite section transversale, la masse des granulés comprimés sous pression est suspendue. Dans ce cas, il est recommandé d'installer un dispositif spécial «agitateur à vis».

Trémie connectée à la chaudière.
Utilisation d'un accumulateur de chaleur et calcul de son volume pour une chaudière à combustible solide
Lors de l'utilisation d'appareils de chauffage puissants, il existe un risque de surchauffe du liquide de refroidissement. Et bien que les modèles modernes disposent d'une automatisation parfaite qui évite de telles situations, il est conseillé d'utiliser des dispositifs de stockage de chaleur spéciaux.
Les accumulateurs de chaleur remplissent les fonctions suivantes:
- régulation automatique de la distribution du liquide de refroidissement chauffé dans tout le système;
- utiliser comme tampon échangeur lors de la création de systèmes de chauffage hybrides avec plusieurs types d'appareils de chauffage;
- certains modèles peuvent faire office de chaudière à eau chaude; augmentez l'efficacité de la chaudière en réduisant le nombre de réglages de tirage.
Tableau de calcul du volume de stockage de chaleur pour une chaudière à combustible solide
| Capacité de stockage de chaleur (L) | Temps de chauffage de l'eau (h) à la puissance de la chaudière (kW) | ||||||||
|---|---|---|---|---|---|---|---|---|---|
| 20 | 25 | 30 | 35 | 40 | 15 | 50 | 55 | 60 | |
| 500 | 1,2 | 0,9 | 0,8 | 0,7 | 0,6 | 0,5 | 0,5 | 0,4 | 0,4 |
| 1000 | 2,3 | 1,9 | 1,6 | 1,3 | 1,2 | 1,0 | 0,9 | 0,8 | 0,8 |
| 1200 | 2,8 | 2,2 | 1,9 | 1,6 | 1,4 | 1,2 | 1,1 | 1,1 | 0,9 |
| 1500 | 3,5 | 2,8 | 2,3 | 2,0 | 1,7 | 1,6 | 1,4 | 1,3 | 1,2 |
| 1800 | 4,2 | 3,4 | 2,8 | 2,4 | 2,1 | 1,9 | 1,7 | 1,5 | 1,4 |
| 2000 | 4,7 | 3,7 | 3,1 | 2,7 | 2,3 | 2,1 | 1,9 | 1,7 | 1,6 |
| 2400 | 5,6 | 4,5 | 3,7 | 3,2 | 2,8 | 2,5 | 2,2 | 2,0 | 1,9 |
| 3000 | 7,0 | 5,6 | 4,7 | 4,0 | 3,5 | 3,1 | 2,8 | 2,5 | 2,3 |
| 3500 | 8,1 | 6,5 | 5,4 | 4,7 | 4,1 | 3,6 | 3,3 | 3,0 | 2,7 |
| 4000 | 9,3 | 7,4 | 6,2 | 5,3 | 4,7 | 4,1 | 3,7 | 3,4 | 3,1 |
| 4500 | 10,5 | 8,4 | 7,0 | 6,0 | 5,2 | 4,7 | 4,2 | 3,8 | 3,5 |
| Le vert indique les volumes optimaux pour les capacités respectives de la chaudière. | |||||||||
Différents types et configurations de tuyauterie de chaudière à combustible solide
Il existe de nombreuses façons de connecter la chaudière et les équipements connexes au système de chauffage général de la maison. Considérez le plus commun d'entre eux.
Le ballon de stockage agit comme une chaudière ECS
La conception du réservoir de stockage est une spirale située à l'intérieur de l'accumulateur de chaleur. Le caloporteur situé à l'intérieur chauffe l'eau courante du circuit d'eau chaude. En cas de combustion et d’arrêt de la chaudière, l’accumulateur de chaleur vous permet de maintenir une température ambiante acceptable, jusqu’à 2 jours. Pourvu que la fonction ECS ne soit pas utilisée.
Un dispositif de thermo-mélange automatique est utilisé pour contrôler l'entrée et la température du liquide de refroidissement:

- Robinet à tournant sphérique;
- Thermomètre;
- Pompe
L'appareil est également équipé d'un clapet anti-retour, d'une vanne automatique de secours à circulation naturelle (en cas de panne de courant), d'un ventilateur thermique intégré et d'un raccord.
Le principe de fonctionnement de l'appareil est le suivant. Lorsque le liquide de refroidissement atteint une certaine température (780 ° C), la soupape thermique ouvre l'alimentation en eau du variateur. La température est maintenue à un niveau prédéterminé en ajustant la section transversale du passage de retour du système de chauffage central au canal de dérivation.
Schéma de raccordement d'une chaudière à combustible solide à un accumulateur de chaleur à double usage:

1. Groupe de sécurité;
2. Réservoir de stockage thermique;
3. Mélangeur thermique;
4. Type de membrane du vase d'expansion;
5. Système de vannage
6. Pompe de circulation du système de chauffage;
7. Radiateurs
8. Vanne de mélange à trois voies;
9. Clapet anti-retour;
10. Pompe de circulation ECS.
Raccordement de l'accumulateur de chaleur et d'une chaudière ECS séparée
Le volume de la chaudière pour le chauffage passif du système d'ECS dépend du nombre de consommateurs et de la puissance de l'équipement utilisé. Lors de la fixation de chaudières à pellets, il est déconseillé d'utiliser des matériaux et des structures en polypropylène. La température de sortie de l'échangeur de chaleur aux charges de pointe dépasse souvent les performances des tuyaux en matériaux polymères.
Exploiter une chaudière à combustible solide avec une chaudière à eau chaude séparée:

1. La chaudière
2. Groupe de sécurité.
3. Vase d'expansion à membrane.
4. Pompe de circulation.
5. Mélangeur manuel à trois voies.
6. Système de vannage.
7. Radiateur de chauffage.
8. Chauffage indirect par chaudière.
9. Réservoir de stockage thermique.
Raccordement parallèle de deux chaudières
Afin de prolonger la durée de vie et de répartir uniformément les ressources utilisées, les utilisateurs associent souvent deux types de sources de chauffage différents dans un même système d'alimentation en chaleur. Dans ce cas, la principale source de chaleur en hiver est une chaudière à combustible solide. La chaudière électrique est activée en mode d'urgence et pendant les mois d'été lorsqu'elle est utilisée pour chauffer de l'eau.
La disposition de la liaison d'une chaudière de chauffage à combustible solide avec une connexion électrique parallèle:

1. Chaudière à pellets.
2. Groupe de sécurité du système de chauffage.
3. Chaudière alternative (électrique ou à gaz).
4. Séparateur pour éliminer l'air du système.
5. Pompe de circulation.
6. Mélangeur manuel à trois voies.
7. Soupape de protection contre la marche à sec.
8. Vase d'expansion.
9. Vanne de remplissage d'eau.
10. Réservoir de stockage thermique.
11. Radiateur de chauffage.
12. Lavabo.
13. Pompe de circulation ECS.
Le système de chauffage basé sur une chaudière à pellets est assez complexe et nécessite un réglage minutieux. Avant d’effectuer les travaux d’installation, lisez attentivement les instructions fournies par les fabricants.
